Appendix A - Connectors and Cables

This Appendix provides information for connecting boards that contain I/O modules and information for connecting Interface cards.

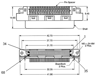
The layout of a VHD connector, such as J4, is depicted in the figure below:

GC5050 68-pin Connector

GC5050 68-pin Connector