This Appendix provides information for connecting boards that contain I/O modules and information for connecting Interface cards.
I/O modules cannot be accessed directly. They are accessed through motherboard connectors. I/O Modules have two types of host motherboards: GT515X DIO boards and GT5900 Carrier boards. The type of I/O module does not affect the physical connection. However, I/O modules affect I/O signals. For a Carrier, the DIO connection also affects UUT signals.
All UUT to Carrier connections are through VHD-type Carrier connectors J10 and/or J11. Each connector is capable of carrying 32 channels of data (total 64). J10 can also carry timing signals.
There are two major interface groups: DIO-side and UUT-side. Within these categories, each side can have data or timing interface signals. This is seen in configurations A – D of the figure below.

Primary DIO I/O Configurations
Configuration A is simplest. The UUT has a data interface connected directly to a GT515X DIO board at Connector J4. Connector J1 exists on a GT5150 (Master) board only. Connector J4 is diagrammed in the Figure below. A GT5150 Master would have a second connector like J1 in the adjacent cutout. That connector would physically be part of the daughter Timing Module.

GT5151 End Plate Connectors for UUT Cables
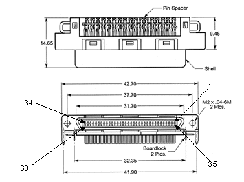
The layout of a VHD connector, such as J4, is depicted in the Figure below.

Configuration B in the Figure Primary DIO I/O Configurations displays a UUT data-data connection to a GT25/50 DIO board through a Carrier. This configuration provides up to 64 channels of data using UUT-side connectors J10 and J11. Two GT25/50-DIO boards (up to 32 channels each) connect from the DIO J1 connectors to Carrier headers J4 and J5.
Configuration C in the Figure Primary DIO I/O Configurations displays a UUT timing-data connection to a GT25/50-DIO board through a Carrier. This configuration provides timing using UUT-side connector J10, and up to 32 channels of data at J11. To provide timing instead of data at J10, the Master’s timing connector, J3, is connected to Carrier header J12 instead of J5. J5 has no connection. DIO J1 connects to Carrier J4, just as it does in Configuration B. Use of Carrier Timing port J12 changes the logical connection between Carrier J10 and the UUT from a data to timing interface.
Configuration D and carrier connector J3 is reserved for future use.
In the the Figure Primary DIO I/O Configurations, interfaces are labeled with a “T” followed by a number. T1 through T6 refer to UUT-side I/O (see I/O Modules). T7 and up refer to DIO-side I/O (see GT5900 Carrier Board).