The Carrier (Figure GT5900 Carrier Board and Figure GT5900 Block Diagram) permits GT25/50-DIO boards to take advantage of extended I/O functions. Unlike GT515X boards (which require an I/O module), GT25/50-DIO boards have no provision for I/O modules. Instead, an I/O module is mounted on the Carrier. The Carrier is inserted between a DIO board and the UUT.
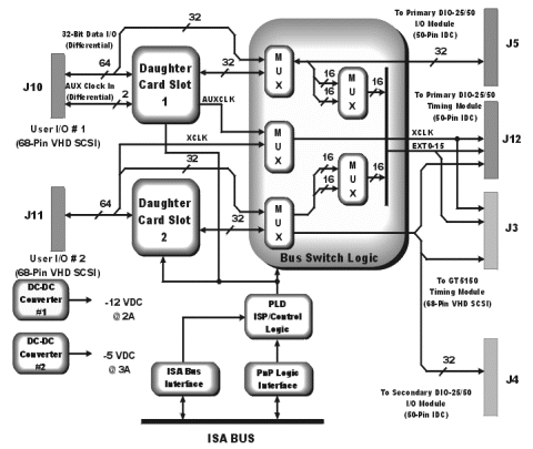
One Carrier can host two I/O modules to accommodate up to two DIO boards. The DIO I/O cables to connectors J4 or J5. Corresponding UUT I/Os cable to J11 or J10.
The Carrier also supports one Timing module interface that can support a connection to a non-TTL UUT (for example, PECL). Both GT5150 and GT25/50-DIO Masters are supported. J3 is a VHD 68-pin connector for the GT5150 Timing module (GT5105) cable. J12 is a 50-pin connector for a GT25/50-DIO Timing module cable. The UUT timing port is at connector J10 (68-pin VHD). Either differential or single-ended mode UUT timing interfaces are supported; signal formats are converted. Information about timing modules is found in their respective DIO family board user guides.

A DIP switch is used to set the Carrier’s I/O address. See “Installing a GT5900 Carrier" in this chapter for setup details.
